おかげさまで開設25周年DBRROOFING.COM 創業祭

DBRROOFING.COM

詳しくはこちら
マイストア マイストア 変更
  • 即日配送
  • 広告
  • 取置可能
  • 店頭受取

HOT ! Hochiki CHW-ADSCI2 防災関連商品 R型中継器 | 火災報知カテゴリ | ホーチキ株式会社

※DBRROOFING.COM 限定モデル
YouTuberの皆様に商品の使い心地などをご紹介いただいております!
紹介動画はこちら

ネット販売
価格(税込)

27500

  • コメリカード番号登録、コメリカードでお支払いで
    コメリポイント : 3ポイント獲得

コメリポイントについて

購入個数を減らす
購入個数を増やす

お店で受け取る お店で受け取る
(送料無料)

受け取り店舗:

お店を選ぶ

近くの店舗を確認する

納期目安:

13時までに注文→17時までにご用意

17時までに注文→翌朝までにご用意

受け取り方法・送料について

カートに入れる

配送する 配送する

納期目安:

2025.10.19 2:26頃のお届け予定です。

決済方法が、クレジット、代金引換の場合に限ります。その他の決済方法の場合はこちらをご確認ください。

※土・日・祝日の注文の場合や在庫状況によって、商品のお届けにお時間をいただく場合がございます。

即日出荷条件について

受け取り方法・送料について

カートに入れる

欲しいものリストに追加

欲しいものリストに追加されました

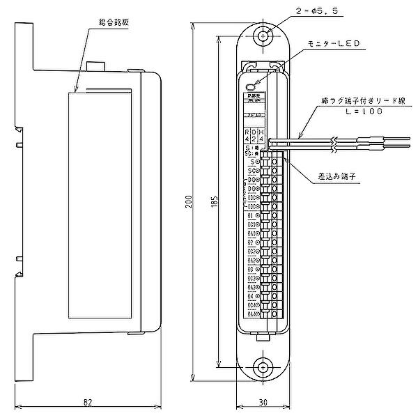
Hochiki CHW-ADSCI2 防災関連商品 R型中継器 | 火災報知カテゴリ | ホーチキ株式会社の詳細情報

R型中継器 | 火災報知カテゴリ | ホーチキ株式会社。R型中継器 | 火災報知カテゴリ | ホーチキ株式会社。防災セット】 角利産業 A4ボックス入 緊急避難セット AEC-040 1。日本製の防災関連商品で、信頼性の高い仕様。R型中継器新品未使用5個入り- Part Number: CHW-ADSCI2- Global Part Number: 200011100001474- Local Part Number: 111100001474- Quantity: 00024K- Serial Number: from 24K2000020 to 24K2000020ご覧いただきありがとうございます。。PEACEUP 防災セット 車載用防災セットDX A4ボックスタイプ 防災。災害用マンホールトイレ ワイドタイプ VE100W
  • R型中継器 | 火災報知カテゴリ | ホーチキ株式会社
  • R型中継器 | 火災報知カテゴリ | ホーチキ株式会社
  • 防災セット】 角利産業 A4ボックス入 緊急避難セット AEC-040 1
  • PEACEUP 防災セット 車載用防災セットDX A4ボックスタイプ 防災

同じカテゴリの 商品を探す

ベストセラーランキングです

このカテゴリをもっと見る

この商品を見た人はこんな商品も見ています

近くの売り場の商品

このカテゴリをもっと見る

カスタマーレビュー

オススメ度  4.3点

現在、2933件のレビューが投稿されています。